消防安全标志设置要求
编号:GB15630-1995
颁布时间:1995/7/19
是否常用:否
是否有效:现行有效
分类:消防设施
6
设置要求
6.1
消防安全标志应设在与消防安全有关的醒目的位置。标志的正面或其邻近不得有妨碍公共视读的障碍物。
6.2
除必须外,标志一般不应设置在门、窗、架等可移动的物体上,也不应设置在经常被其它物体遮挡的地方。
6.3
设置消防安全标志时,应避免出现标志内容相互矛盾、重复的现象。尽量用最少的标志把必需的信息表达清楚。
6.4
方向辅助标志应设置在公众选择方向的通道处,并按通向目标的最短路线设置。
6.5 设置的消防安全标志,应使大多数观察者的观察角接近90°。
6.6 消防安全标志的尺寸由最大观察距离D确定。测出所需的最大观察距离以后,根据GB
13495附录A确定所需标志的大小。
观察距离D的确定参照本标准附录A(参考件)。
6.7
标志的偏移距离X应尽量缩小。对于最大观察距离D的观察者,偏移角θ一般不宜大于5°,最大不应大于15°。如果受条件限制,无法满足该要求,应适当加大标志的尺寸以满足醒目度的要求。
6.8 在所有有关照明下,标志的颜色应保持不变。
6.9 消防安全标志牌的制作材料
6.9.1
疏散标志牌应用不燃材料制作,否则应在其外面加设玻璃或其它不燃透明材料制成的保护罩。
6.9.2
其它用途的标志牌其制作材料的燃烧性能应符合使用场所的防火要求;对室内所用的非疏散标志牌,其制作材料的氧指数不得低于32。
6.10 室内及其出入口的消防安全标志设置要求。
6.10.1 疏散标志的设置要求
6.10.1.1
疏散通道中,“紧急出口”标志宜设置在通道两侧部及拐弯处的墙面上,标志牌的上边缘距地面不应大于1m,如图2所示。也可以把标志直接设置在地面上,上面加盖不燃透明牢固的保护板,如图3所示。标志的间距不应大于20
m,袋形走道的尽头离标志的距离不应大于10 m。
6.10.1.2
疏散通道出口处,“紧急出口”标志应设置在门框边缘或门的上部,如图4所示A或B的位置。标志牌的上边缘距天花板高h1不应小于0.5
m。位置A处的标志牌下边缘距地面的高度h2不应小于2.0 m。
6.10.1.3
如果天花板的高度较小,也可以在图4中C、D的位置设置标志,标志的中心点距地面高度h3应在1.3 m~1.5 m之间。
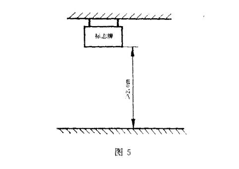
6.10.1.4 悬挂在室内大厅处的疏散标志牌的下边缘距地面的高度不应小于2.0
m,如图5所示。
6.10.2 附着在室内墙面等地方的其它标志牌,其中心点距地面高度应在1.3 m~1.5
m之间。
6.10.3 悬挂在室内大厅处的其它标志牌下边缘距地面高度不应小于2.0
m。
6.10.4
在室内及其出入口处,消防安全标志应设置在明亮的地方。消防安全标志中的禁止标志(圆环加斜线)和警告标志(三角形)在日常情况下其表面的最低平均照度不应小于5
lx,最低照度和平均照度之比(照度均匀度)不应小于0.7。提示标志(正方形)及其辅助标志应满足以下要求:




6.10.4.1
需要外部照明的提示标志及其辅助标志,日常情况下其表面的最低平均照度和照度均匀度也应满足上述要求。当发生火灾,正常照明电源中断的情况下,应在5
s内自动切换成应急照明电源,由应急照明灯具照明,标志表面的最低平均照度和照度均匀度仍应满足上述要求。
6.10.4.2 具有内部照明的提示标志及其辅助标志,当标志表面外部照明的照度小于5
lx时,应能在5 s内自动启动内部照明灯具进行照明。当发生火灾,内部照明灯具的正常照明电源中断的情况下,应在5
s内自动切换成应急照明电源。无论在哪种电源供电进行内部照明的情况下,标志表面的平均亮度宜为17~34
cd/m²,但任何小区域内的最大亮度不应大于80cd/m²,最小亮度不应小于15 cd/m²,最大亮度和最小亮度之比不应大于5:1。
6.10.4.3
用自发光材料制成的提示标志牌及其辅助标志牌,其表面任一发光面积的亮度不应小于0.51
cd/m²。文字辅助标志牌表面的最大亮度和最小亮度之比不应超过3:2,图形标志的最大亮度和最小亮度之比不应超过5:2。
6.11 室外设置的消防安全标志应满足以下要求:
6.11.1 室外附着在建筑物上的标志牌,其中心点距地面的高度不应小于1.3
m。
6.11.2 室外用标志杆固定的标志牌的下边缘距地面高度应大于1.2
m。
6.11.2.1 设置在道路边缘的标志牌,其内边缘距路面(或路肩)边缘不应小于0.25
m,标志牌下边缘距路面的高度应在1.8~2.5 m之间。如图6所示。
6.11.2.2
设置在道路边缘的标志牌,在装设时,标志牌所在平面应与行驶方向垂直或成80°~90°角,如图7所示。


6.11.2.3
设置在道路边缘的警告标志到危险地点的距离,根据道路的计算行车速度,按表1选取。

6.11.3
消防安全标志牌应设置在室外明亮的环境中。日常情况下使用的各种标志牌的表面最低平均照度不应小于5
lx,照度均匀度不应小于0.7。夜间或较暗环境下使用的消防安全标志牌应采用灯光照明以满足其最低平均照度要求,也可采取自发光材料制作。设置在道路边缘供车辆使用的消防安全标志牌也可采用逆向反射材料制作,反光方式参考附录B(参考件)。
6.12
对于地下工程,“紧急出口”标志宜设置在通道的两侧部及拐弯处的墙面上,标志的中心点距地面高度应在1.0 m~1.2
m之间,也可设置在地面上(如图3所示)。标志的间距不应大于10 m。标志的照明应满足6.10.4条和6.13条的要求。
6.13
给标志提供应急照明的电源,其连续供电时间应满足所处环境的相应标准或规范要求,但不应小于20 min。