气体消防系统选用、安装与建筑灭火器配置
编号:GJBT-1009
颁布时间:2007/6/1
是否常用:是
是否有效:现行有效
分类:消防设施
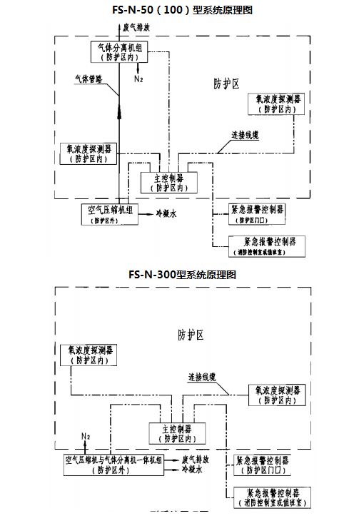
无管网注氮控氧防火系统原理图
(一机一区、多机一区)


说明:1.空气压缩机组设置位置宜尽量靠近防护区,与防护区距离不应大于50m。
2.气体分离机组排出的废气主要成分为富氧空气,可就近排至防护区外或户外。
3.消防控制室(或值班室)是否设置紧急报警控制器对系统实施远程监控与报警,由工程设计人员确定。